icono CMSC
check Anexys

Envoltura de palets

  • check 2Amplia gama de maquinaria adaptada a cada necesidad, en depósito con mantenimiento incluido, posibilidad de renovar el parque de maquinaria sin inversiones.
  • check 2Conexión IOT.
  • check 2Mantenimiento, formación y servicio incluido.
  • check 2Establecimiento del ratio Coste / Pálet (única forma real de conocer el resultado coste / calidad).
Imagen cesion 1

0€ INVERSIÓN

Imagen cesion 2

0€ INSTALACIÓN

Imagen cesion 3

0€ MANTENIMIENTO

Film

Film de alta calidad

Con certificaciones ISO, 9000 – 22000 …, permite reducir espesores sin perder calidad en el proceso, gama adaptada a cualquier necesidad operativa de embalaje. Film orientados y extensibles de uso en máquina o manual. Amplia gama de colores y formatos. Impresión personalizada y en colores.

  • check 2Film extensible
    • Cast, Blown
    • Reducción de espesor garantizada, menor coste por pálet, menor huella de carbono
  • check 2Film orientado
    • Tecnología superior fabrica el film directamente en el punto de estiramiento óptimo y con elasticidad en sentido longitudinal y transversal. La mejor sujeción y estabilidad de los palets para el transporte sin necesidad de invertir en pre estiros motorizados con costoso mantenimiento.
  • check 2Film preestirado
    • A partir de un film extensible de micraje superior, se preestira en el proceso de bobinado, para dejar el film preparado en el punto más cercano al óptimo de estiramiento que requiere la envoltura de palets.

¿Necesitas ayuda?

Envíanos tu consulta sobre éste producto


Introduzca su nombre.
Introduzca una dirección de email válida.

Máquinas envolvedoras

Brazo giratorio
Robot
Plataforma
Anillo
Envoltura horizontal
icono CMSC

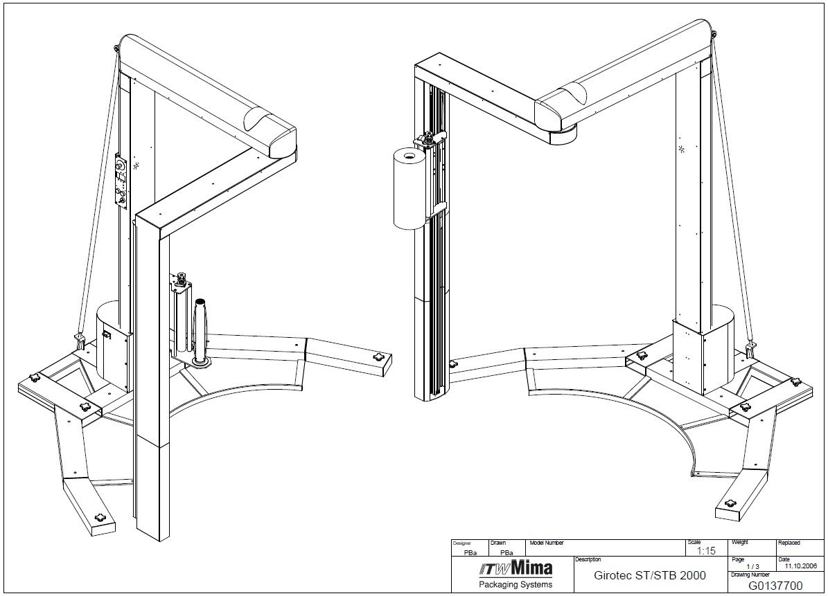
Girotec PLL

Envolvedora móvil de brazo giratorio sobre transpalet eléctrico, excepcionales resultados de envoltura. Compacta con un innovador diseño y un innumerable campo de aplicaciones.
Funciona con film orientado sin mandril interior.

  • check 2Movilidad y adaptabilidad
  • check 2Envoltura perfecta con brazo giratorio
  • check 2Perfecto para medios o cuartos de palet independientemente de su peso.
  • check 2Sencillo cambio de bobina.
  • check 2Panel táctil de operación sencilla.
  • check 2Menú intuitivo con pictogramas.
  • check 2Arranque y parada suave.
  • check 2Cuatro diferentes programas de envoltura.
  • check 2Múltiples ajustes ( Solapa, número de vueltas en diferentes zonas del palet, inicio de ciclo).
  • check 2Fabricada en Europa con marcado CE.
  • check 2Normativa de seguridad + señales acústicas y luminosas.

¿Necesitas ayuda?

Envíanos tu consulta sobre éste producto


Introduzca su nombre.
Introduzca una dirección de email válida.

Girotec RDL

Máquina de brazo giratorio móvil con baterías sobre transpalet manual, permite su uso en lugares con muy poco espacio.

  • check 2Movilidad y bajo mantenimiento
  • check 2Posibilidad de envolver cualquier producto en cualquier lugar
  • check 2Sencillo cambio de bobina
  • check 2Panel táctil de operación sencilla.
  • check 2Menú intuitivo con pictogramas.
  • check 2Arranque y parada suave.
  • check 2Cuatro diferentes programas de envoltura.
  • check 2Múltiples ajustes ( Solapa, número de vueltas en diferentes zonas del palet, inicio de ciclo).
  • check 2Fabricada en Europa con marcado CE.
  • check 2Normativa de seguridad + señales acústicas y luminosas.

¿Necesitas ayuda?

Envíanos tu consulta sobre éste producto


Introduzca su nombre.
Introduzca una dirección de email válida.

Girotec STB

Envolvedora semi móvil con baterías, puede trabajar directamente sobre el suelo de manera autónoma sin necesidad de mantener un punto de corriente próximo, puede transportarse a diferentes puntos de envoltura incluso con un transpalet manual.

  • check 2Estabilidad máxima durante el proceso de envoltura
  • check 2Ajuste óptimo de la tensión del film
  • check 2Facilidad de movimiento a diferentes zonas de envoltura
  • check 2Sencillo cambio de bobina
  • check 2Panel táctil de operación sencilla.
  • check 2Menú intuitivo con pictogramas.
  • check 2Arranque y parada suave.
  • check 2Cuatro diferentes programas de envoltura.
  • check 2Múltiples ajustes ( Solapa, número de vueltas en diferentes zonas del palet, inicio de ciclo).
  • check 2Fabricada en Europa con marcado CE.
  • check 2Normativa de seguridad + señales acústicas y luminosas.

¿Necesitas ayuda?

Envíanos tu consulta sobre éste producto


Introduzca su nombre.
Introduzca una dirección de email válida.

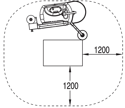
Girotec WT

Envolvedora de brazo giratorio, requiere una mínima cantidad de espacio para su trabajo, alojamiento del palet sobre el suelo, puede alojarse en cualquier lugar por su fácil instalación, puede instalarse incluso dentro de estanterías.

  • check 2Eficiencia y estabilidad
  • check 2Mínimo espacio requerido
  • check 2Sencillo cambio de bobina
  • check 2Panel táctil de operación sencilla.
  • check 2Menú intuitivo con pictogramas.
  • check 2Arranque y parada suave.
  • check 2Cuatro diferentes programas de envoltura.
  • check 2Múltiples ajustes ( Solapa, número de vueltas en diferentes zonas del palet, inicio de ciclo).
  • check 2Fabricada en Europa con marcado CE.
  • check 2Normativa de seguridad + señales acústicas y luminosas.

¿Necesitas ayuda?

Envíanos tu consulta sobre éste producto


Introduzca su nombre.
Introduzca una dirección de email válida.

Girotec COBRA X

La estructura en acero le otorga una solidez extraordinaria

  • check 2La máquina se fija al suelo por tres patas lo que permite elevar la altura de la mercancia a envolver hast 2,45 metros, adaptando posibilidades a los máximos de carga con los nuevos transportes
  • check 2Diferentes programas ademas de mantener el palet sobre el suelo, permite cubrir cualquier necesidad de envoltura por delicado que sea el producto, por lo que resulta ideal para cargas inestables o pálets multiproducto con diferentes mosaicos
  • check 2Conexión remota
  • check 2Drástica disminución de los residuos

¿Necesitas ayuda?

Envíanos tu consulta sobre éste producto


Introduzca su nombre.
Introduzca una dirección de email válida.

CSA

Sencillez y máxima eficacia

  • check 2Armazón robusto de acero, altura máxima de envoltura 2,5 metros cualquier tipo de palet estándar, todas las ventajas de la ausencia de plataforma, palet estacionado sobre el suelo
  • check 2Construcción europea posibilidad de integración o sistema de corte automático, carro de preestiro motorizado. Optimización máxima del rendimiento del film
  • check 2Diferentes programas predeterminados permiten adaptar el ciclo de envoltura a la necesidad real
  • check 2Posibilidad de renovar su envolvedora reduciendo el coste por palet envuelto
  • check 2Drástica disminución de los residuos.

¿Necesitas ayuda?

Envíanos tu consulta sobre éste producto


Introduzca su nombre.
Introduzca una dirección de email válida.
icono CMSC

Robot CSM

Robot de envoltura móvil con baterías

  • check 2Utilización ideal en:
    • Pálets fuera de formato
    • Diferentes puntos de envoltura
    • Alturas superiores a 2,5 Metros
  • check 2Seguro y eficaz ofrece la posibilidad de utilizar diferentes tipos de film, puede resultar el complemento ideal para cualquier máquina de plataforma.

¿Necesitas ayuda?

Envíanos tu consulta sobre éste producto


Introduzca su nombre.
Introduzca una dirección de email válida.
icono CMSC

Rolle 8

Cuando el criterio principal es una máquina sencilla sólida y duradera esta se presenta como una opción perfecta.

  • check 2Funcionamiento rápido y sencillo
    • Dos modos de funcionamiento
    • Si es necesario se puede parar el ciclo, añadir o quitar productos y continuar sin necesidad de reinicio
  • check 2Sencillos ajustes operativos
    • La tensión del film puede ajustarse fácilmente con el freno mecánico
    • Los diferentes diámetros de bobina no afectan a la tensión del film sobre el pálet
    • Cambio de bobina rápido y sencillo
    • El freno del film puede ser fácilmente liberado para su fijación al palet
    • La altura de envoltura se regula automáticamente por una célula fotoeléctrica
    • Funcionamiento seguro
  • check 2Plataforma giratoria
    • La velocidad de rotación de la plataforma esta regulada por un inversor de frecuencia para evitar problemas mecánicos
    • Gracias al sistema de inicio y final controlado, es posible envolver incluso palets inestables
    • La máquina inicia y finaliza el ciclo en la misma posición, facilitando la carga/descarga ó el uso de una rampa de acceso.

¿Necesitas ayuda?

Envíanos tu consulta sobre éste producto


Introduzca su nombre.
Introduzca una dirección de email válida.

Rolle 9

Cuando el criterio principal es una máquina sencilla sólida y duradera esta se presenta como una opción perfecta.

  • check 2Funcionamiento rápido y sencillo
    • Dos modos de funcionamiento
    • Si es necesario se puede parar el ciclo, añadir o quitar productos y continuar sin necesidad de reinicio
  • check 2Sencillos ajustes operativos
    • La tensión del film puede ajustarse fácilmente con el freno mecánico
    • Los diferentes diámetros de bobina no afectan a la tensión del film sobre el pálet
    • Cambio de bobina rápido y sencillo
    • El freno del film puede ser fácilmente liberado para su fijación al palet
    • La altura de envoltura se regula automáticamente por una célula fotoeléctrica
    • Funcionamiento seguro
  • check 2Plataforma giratoria
    • La velocidad de rotación de la plataforma esta regulada por un inversor de frecuencia para evitar problemas mecánicos
    • Gracias al sistema de inicio y final controlado, es posible envolver incluso palets inestables
    • La máquina inicia y finaliza el ciclo en la misma posición, facilitando la carga/descarga ó el uso de una rampa de acceso.

¿Necesitas ayuda?

Envíanos tu consulta sobre éste producto


Introduzca su nombre.
Introduzca una dirección de email válida.

CST 110

En reemplazo del enfardado manual

 El CST 110 es la enfaradora de modelo básico Cyklop. Ergonómicamente, la máquina es adecuada como reemplazo del enfardado manual, que a menudo es pesado y laborioso. Como estándar, la CST 110 se suministra con una plataforma giratoria de Ø 1500 mm. El carro está equipado con una fotocélula que detecta automáticamente la altura de la carga. La tensión del film se puede ajustar manualmente mediante un freno mecánico. Único en esta máquina, es el programa especial que permite cambiar fácilmente el rollo del film. El carro del film avanza a una altura establecida donde el operador puede intercambiar el rollo de film de manera conveniente y ergonómica. El carro también alcanza la altura establecida al final del ciclo para que el operador no tenga que soltar el film debajo del palet.

  • check 2Programa especial, se simplifica cambiar el film
  • check 2Freno mecánico
  • check 2Velocidad de envoltura: 12rpm
  • check 2Aplicación ergonómica y corte del film
  • check 2Función adicional para agregar protección de esquina
  • check 2Reducción drástica de los pesos a manipular y transportar
  • check 2Drástica disminución de los residuos

¿Necesitas ayuda?

Envíanos tu consulta sobre éste producto


Introduzca su nombre.
Introduzca una dirección de email válida.
icono CMSC

Octopus

Primera máquina de anillo en el mercado

  • check 2Velocidad – Fiabilidad – Eficacia Automatismo Real ( roll in –roll out )
  • check 2Sistema inteligente de envoltura con ajuste de tensión
  • check 2Pre estiro determinado por engranajes 100% Garantizado
  • check 2Pre estiro determinado por engranajes 100% Garantizado
  • check 2Desde 30 hasta más de 70 pálets por hora
  • check 2Reducción drástica de los pesos a manipular y transportar
  • check 2Drástica disminución de los residuos

¿Necesitas ayuda?

Envíanos tu consulta sobre éste producto


Introduzca su nombre.
Introduzca una dirección de email válida.
icono CMSC

Yellow Jacket

La mejor solución para envolver palets fuera de standard de manera horizontal

  • check 2Eficacia máxima ante:
    • Pálets bajos
    • Pálets con mercancías irregulares
    • Cualquier longitud
  • check 2Diseño mecánico sencillo ofrece solidez y calidad en el proceso con bajo mantenimiento y larga duración
  • check 2Extensa gama de almohadillas adaptada a cualquier necesidad
  • check 2Reducción drástica de los pesos a manipular y transportar
  • check 2Drástica disminución de los residuos

¿Necesitas ayuda?

Envíanos tu consulta sobre éste producto


Introduzca su nombre.
Introduzca una dirección de email válida.

R9

Máquina envolvedora orbital. Rápida, eficiente y funcional.

  • check 2Estructura de acero
  • check 2Velocidad del anillo controlada por variador
  • check 2Transmisión por correa con motor reductor
  • check 2Grupo portabobinas fijado al anillo de rotación
  • check 2Pinza y corte automático con accionamiento neumático en un solo movimiento
  • check 2Panel con pantalla táctil, accionamiento con pedal
  • check 2Drástica disminución de los residuos

¿Necesitas ayuda?

Envíanos tu consulta sobre éste producto


Introduzca su nombre.
Introduzca una dirección de email válida.

Evoring S

Máquina envolvedora orbital. Rápida, eficiente y funcional.

  • check 2Estructura de acero
  • check 2Velocidad del anillo controlada por variador
  • check 2Transmisión por correa con motor reductor
  • check 2Grupo portabobinas fijado al anillo de rotación
  • check 2Pinza y corte automático con accionamiento neumático en un solo movimiento
  • check 2Diferentes anchos de anillo
  • check 2Panel con pantalla táctil, accionamiento con pedal

¿Necesitas ayuda?

Envíanos tu consulta sobre éste producto


Introduzca su nombre.
Introduzca una dirección de email válida.